请登录
注册
收藏本站
首页
Home
帮办服务
Nav
海外预警
Nav
政策资讯
Nav
保护服务
Nav
技术交易
Nav
远程教育
Nav
科创服务
Nav
关于我们
Nav
桥东区知识产权信息公共服务平台
桥西区知识产权信息公共服务平台
宣化区知识产权信息公共服务平台
张北县知识产权信息公共服务平台
万全区知识产权信息公共服务平台
下花园区知识产权信息公共服务平台
康保县知识产权信息公共服务平台
沽源县知识产权信息公共服务平台
怀来县知识产权信息公共服务平台
怀安县知识产权信息公共服务平台
涿鹿县知识产权信息公共服务平台
帮办中心网站
商标申请
专利申请
版权申请
贯标申请
知识产权申请
知识产权托管
知识产权维权
知识产权评估
知识产权交易
知识产权培训
智南针
海外知识产权预警信息发布
海外知识产权布局
海外预警指导中心
海外知识产权纠纷应对
海外商标恶意抢注防范
通知公告
平台动态
政策解读
专题活动
河北省知识产权公共服务平台
河北省知识产权保护中心
中国林业知识产权网
行政保护
司法保护
维权援助
维权保护
自主申请
软著申请
美术作品登记
文字作品登记
版权
商标注册
商标撤三申请
商标异议申请
商标无效宣告申请
商标变更
商标续展
商标转让
商标许可备案
商标
发明专利申请
实用新型专利申请
外观设计专利申请
发明+新型专利申请
专利
植物新品种
质押融资
专家智库
高端装备制造
新型能源
高新技术服务
新材料技术
其他技术
知产储备
运营专利
专利转化
专利检索
发明授权
实用新型
外观设计
商标转让
转让信息
专利开放许可
技术需求
军民融合项目
两用技术
招商引资项目
专利供需
专利导航
高新技术企业认定
科技型中小企业认定
科技创新券
专精特新中小企业认定
技术合同认定
平台简介
平台资质
联系我们
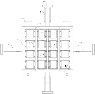
产品详情
一种提高减震效果的电力检测设备用运输装置
类型:
实用新型
价格:
面议
申请号:
CN201921774743.9
申请日:
2019.10.21
申请公布号:
CN211469187U
申请公布日:
2020.09.11
分类号:
B65D25/06 ;B65D81/05 ;B65D85/68
申请(专利权)人:
曾*扬
发明人:
曾*扬 ;周*邦 ;何*盛 ;于*成
03135800627
立即预约
上一个:
一种电路板维修点焊机
下一个:
一种使用便捷的电缆输送机
关于我们
|
政策资讯
|
知识产权
|
科创讲堂
扫一扫,关注公众微信号
技术交易
|
科技金融
|
远程教育
|
科创服务
咨询电话
:
0313-5800627
地址:
河北省张家口市桥东区站前东大街28号河北国控北方硅谷高科新城1号楼1层
张家口市知识产权信息公共服务平台